

周辺機器
FX1 · F3D · FY20 · RF 型(ラインフィルター)・SAB(給油口)
| 型式 | コードNO | 接続口 | 常用使用圧力(MPa) | 圧力損失(MPa) | ろ過精度 | 材質 |
|---|---|---|---|---|---|---|
| FX1 | 659001 | Rc1/8 | 1 | 0.01 | 40μm | (本体ヘッド部) ADC (エレメント) SUS304 |
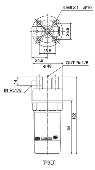
| F3D | 209335 | Rc1/8 | 2.9以下 | 125μm | (本体) ADC-12 (エレメント) SUS304 |
|
| 209336 | 40μm | |||||
| 209337 | 0.015 | 10μm | ||||
| FY20 | 109313 | Rc1/8 | 2.5 | 0.01 | 20μm | (本体) ZDC-2, (ケース) A5056BE |
※フィルター取付板は、付属されていません。フィルター取付板(No.650005)と取付ねじ(No.801086×2ケ)を別途ご注文ください。




| 型式 | コードNO | ろ過精度 | 対応ラインフィルター | 材質 |
|---|---|---|---|---|
| FXE | 259304 | 40μm | FX1 | SUS304 |
| F3E-125 | 259311 | 125μm | F3D | SUS304 |
| F3E-40 | 259312 | 40μm | ||
| F3E-10 | 259313 | 10μm | ||
| FYE | 650147 | 20μm | FY20 | BC3 |

| 型式 | コードNO. | ろ過精度 | 材質 |
|---|---|---|---|
| FYE | 650147 | 20μ | BC3 |

潤滑油を回収して使用する場合の回収用フィルターで、マグネット付です。
| 型式 | コードNO. | ろ過精度 |
|---|---|---|
| RF-250 | 109317 | 250μm |
●材質:(本体)フランジ AC2A、(キャップ)A5052B

| 型式 | コードNO. | D | H | L | d | d1 | P | 取付ねじ |
|---|---|---|---|---|---|---|---|---|
| SAB-30 | 259353 | 56 | 33 | 44 | 30 | 35 | 48 | 4-M4 |
| SAB-40 | 259354 | 65 | 34 | 69 | 40 | 45 | 57 | |
| SAB-50 | 259355 | 80 | 34 | 135 | 50 | 56 | 75 | 4-M5 |
| SAB-70 | 259358 | 108 | 70 | 120 | 70 | 80 | 100 | 6-M6 |
